Fenster stellen gemeinsam mit Türen die komplexesten Objekt-Typen der BIM-Arbeitsweise im Hochbau dar. Umfangreiche Vorgaben der Planzeichenverordnungen zur plangrafischen Darstellung nach Maßstab und Phase, eine Vielzahl an nötigen Einstellungsmöglichkeiten zu Geometrie, Einbauart und die Handhabung etwaigen Zubehörs, wie z.B. Fensterbänke oder Beschattungselemente, machen Fenster zu komplexen informatischen Objekten. Hier unterscheiden sich die unterschiedlichen BIM Programme sehr deutlich in deren Handhabung und Leistungsfähigkeit.
Suchbegriffe: Öffnung, Lichte, Fens, Holz, Alu, Scheibe, Verglasung, tlg
In dieser Phase werden Fenster in der Regel lediglich abstrakt als einfache Öffnungen in der Gebäudehülle dargestellt. Das bedeutet, dass im Modell nicht zwangsläufig spezielle Fenster-Objekte zur Anwendung kommen müssen.
Darstellung

Plandarstellung Modelldarstellung
Merkmale
Merkmal
- Referenz
- Status
Parameter
- Breite Fenster
- Brüstungshöhe
- Höhe Fenster
Gliederungs-Informationen
- Außen gelegenes Element
Beschriftung
In dieser Phase werden Fenster in Planansichten noch nicht beschriftet.
Anleitung
Grundsätzlich gibt es in Revit vorrangig zwei Möglichkeiten, abstrakte Fenster-Öffnungen zu erstellen:
1) Die erforderlichen Ausschnitte werden mit Öffnungs-Funktionen erstellt:
Befehl: >Architektur >Befehlsgruppe Öffnung >Wand (in Wänden), >Schacht (für Dachfenster in Dächern)
Durch Verwendung dieser Befehle kann zwar die Öffnung in einem Bauteil auf sehr einfache Weise erstellt werden, jedoch ist einerseits eine zugehörige, dynamische Beschriftung und andererseits auch eine für Öffnungen typische Symbolik nicht abrufbar. Aufgrund dieser Tatsache ist letztendlich die zweite Erstell-Methode zu empfehlen:
2) Fenster-Öffnungen werden mit speziell dafür vorgesehenen, externen (='ladbaren') Fenster-Familien erstellt:
Diese bestehen im Wesentlichen lediglich aus Abzugskörpern (substanzlose 'Negativ-Körper'), die aus Basisbauteilen wie bspw. Wänden oder Dächern die erforderlichen Öffnungen ausschneiden. In so einem Fall spricht man von sogenannten 'Wand-basierten' oder 'Dach-basierten' Bauteilen.
Abstrakte Fenster-Öffnungs-Familien können dem Revit-Content entnommen werden.Neue Fenster-Öffnungs-Familien müssen mit der Familien-Vorlagendatei >M_Fenster erstellt werden.Eine weiterführende Anleitung zum Erstellen von Öffnungen wie unter Punkt 1) beschrieben ist im Artikel Öffnungen - Durchbrüche - Schlitze zu finden.Eine weiterführende Anleitung zum Erstellen von Fenstern wie unter Punkt 2) beschrieben ist in diesem Artikel unter dem Abschnitt >Vorplanung >Anleitung zu finden.
Übersicht
Die grundsätzliche Modellierung eines Fensters in ArchiCAD unterscheidet sich nicht in den verschiedenen Planungsphasen, oder durch verschieden Fenster-Arten.
Für die grundsätzliche Verwendung des Fenster-Werkzeuges verweisen wir auf die Basisdokumentation von Graphisoft im Help-Center.
Als Grundlage dieser Dokumentation wurde die offizielle Vorlagendatei 01 ARCHICAD 25 Vorlage.tpl der ARCHICAD 25 AUT Version verwendet – die Bibliothekselemente können von Land zu Land variieren.
Der phasengerechte Detaillierungsgrad der Fenster kann mit der Modelldarstellungsoptionen reguliert werden. Wichtige Voraussetzung ist, dass die 2D- und 3D-Darstellungsoptionen in der Elementeinstellungen der Fenster auf „Nach Modelldarstellung“ gestellt wurden. In der Phase Entwurf sollten folgende Einstellungen durchgeführt werden.

Die Konstruktionselement-Optionen sollten auf „komplettes Fenster“ mit Fenstermarker gestellt werden, weil die Fenster in der Entwurfsphase im Grundrissbereich nicht nur mit einer leeren Öffnung dargestellt werden sollen, sondern mindestens mit einer Linie.

Das kann mit der Detaillierung des Fenstersymbols erreicht werden. Wählen Sie in dem Reiter Detaillierung der Fenstersymbole folgende Einstellungen aus.

In dem Reiter der verschiedenen Bibliotheksobjekt-Einstellungen sollte man die Zubehöre und die Öffnungslinie ausschalten, um die Optik der Fenster weiter zu schematisieren.


Info: Ein Fenster kann nur in eine Wand in das Modell eingefügt werden – ihm kann somit keine eigene Ebene zugewiesen werden.
Die folgende Beschreibung für das Fenster-Werkzeug gilt sinngemäß auch für das Werkzeug Eckfenster.
Fenster-Arten
In der Standard-Bibliothek befinden sich unterschiedliche Grund-Fenster-Arten:
Rechteckfenster, Sonderfenster, Schiebefenster Sonnenschutz, Öffnungen, Zusatzelemente, Glasfassaden. Die Wahl des Fensters ist wichtig für seine Einstellungs-Optionen, sein Aussehen und Verhalten im Kontext mit der Basiswand.
Tipp: Wurde ein Fenster platziert und fertig eingestellt kann dieses nachträglich noch in eine andere Fenster-Art umgewandelt werden, ohne alle Informationen zu verlieren: Fenster auswählen > Bibliothek öffnen > neues Fenster in der Bibliothek suchen > mit ALT+CMD (Pipette erscheint) neues Fenster anwählen. Alle Einstellungen die auch in dem alten Fenster vorhanden waren werden so auf das neue Fenster übertragen.
Vorschau und Positionierung

Die erste Registerkarte Vorschau und Positionierung zeigt die Grundmaße eines Fensters - Breite/Höhe/Brüstung/Schwelle zu Geschoss/Anschlag können hier eingestellt werden. Die ausführlichen/spezifischen Einstellungen eines Fensters befinden sich im nächsten Bereich des Menüs.
Wird lt. OENORM A 6241-2 modelliert, befindet sich das Geschoss-Null auf der Oberkante Rohdecke – in angezeigten Beispiel befindet sich im Bereich des Fensters ein Fußbodenaufbau von 18cm – um das Fenster im Verhältnis zum Geschoss-Null richtig zu platzieren muss im Feld Brüstung/Schwelle (zu UK Wand) dieser Höhe des Fußbodenaufbaus + Parapethöhe eingetragen werden (s.a. unten Bemaßungsmarker und Stempel).
Fenster-Einstellungen

Im Menü-Unterpunkt Fenster-Einstellungen stehen alle Optionen und Angaben für die jeweilige Fenster-Art zur Verfügung – Reihenfolge und Inhalt sind je Fenster sind fast immer ident.
Grundriss und Schnitt
Modelldaten können auch über Projektionen in Grundrissen/Ansichten/Schnitten dargestellt werden – die folgende Beschreibung erläutert die dabei möglichen Optionen.

Im Bereich Grundriss und Schnitt können für das Fenster die verschiedenen Grundrissdarstellungen eingestellt werden. Da das Fenster mit der Darstellung einer Wand zusammenhängt wird hier in der Grundrissdarstellung Symbolisch eingestellt. Die Darstellung des Fensters wird auch immer über die Modelldarstellung geregelt, solange diese Funktion in den Fenster-Einstellungen nicht deaktiviert wird.
Bemaßungsmarker und Stempel
Die Art des Bemaßungsmarkers wird unter Bemaßungsmarker und Stempel eingestellt.
Es sollte immer ein Bemaßungsmarker eingestellt sein, und die Sichtbarkeit im Grundriss über die Modelldarstellung gesteuert werden. Im Bereich Stärke Bodenaufbau muss die Höhe des Fußbodenaufbaus im Bereich des Fensters angegeben werden, um für die Anzeige des Parapets den korrekten Bezug zum Geschoss-Null (= OKRD lt. OENORM A 6241-2) im Marker zu erhalten.
Marker-Textstil

Die Parameter des Textstils nehmen in diesem Reiter Platz.
Marker Symbol

Wurde unter Bemaßungsmarker und Stempel der F Marker 20 eingestellt, finden sich hier alle Einstellungen dazu.
Klassifizierungen und Eigenschaften

Die Element-Klassifizierung ist die erste Definition im Bereich Klassifizierungen und Eigenschaften – s.a. Klassifizierung. Durch die Wahl der Klassifizierung auf Fenster werden auch nur die Merkmale im unteren Feldbereich angezeigt, die für diese Klassifizierung laut ifc Sachmerkmale und laut dem Eigenschaften-Manager zur Verfügung stehen.
Die 3 Merkmale die auch eine weitere Funktion innerhalb von ArchiCAD erfüllen sind Tragende Funktion, Lage und Umbau Status – diese haben eine Auswirkung auf entweder die Strukturdarstellungs-Methode, die Hüllenfunktion (in weiteren Programmen), oder den Umbaufilter. Alle weiteren Merkmale sind individuell zu wählen, bzw. in Abstimmung mit den Organisationsvorgaben des Projektes zu treffen (bspw. Projekthandbuch oder Organisationshandbuch).
In dieser Phase werden Fenster erstmals mit speziell dafür vorgesehenen 3D-Objekten erstellt und den Bauteilen ein Material (Baustoff) zugeordnet.
Darstellung

Plandarstellung Modelldarstellung
Merkmale
- Fluchtweg
Beschriftung
In dieser Phase werden Fenster in Planansichten noch nicht beschriftet.
Anleitung
Fenster zählen in Revit zur gleichnamigen Kategorie und werden mit dem Befehl >Architektur >Fenster erstellt. Da sie nicht zur Palette der Systemfamilien sondern zu den sogenannten externen (='ladbaren') Familien gehören, müssen sie je nach Bedarf mit dem Befehl >Einfügen >Familie laden aus dem Revit-Content geladen werden:
Befehl für Fenster:

Befehl für das Laden von Fenster-Familien:

Aufteilung von Fenster-Familien:
Der mit Revit mitgelieferte Fenster-Content ist konsequenterweise in Familien aufgeteilt, die die Anzahl der Flügel oder die Teilung des Fensters im Familien-Namen beschreiben. Beispielsweise gibt es 1-flügelige, 2-flügelige und entsprechend mehrflügelige (bzw. -teilige) Fenster. Zudem stehen Eckfenster und Fenstertüren in separaten Familien zur Verfügung.
Platzierung von Fenstern:
Der Großteil der Fenster-Familien ist in Revit so konstruiert, dass sie ausschließlich in Wänden versetzt werden können. Man spricht in so einem Fall von so genannten 'Wand-basierten' Familien, d.h. dass es sich beim Basisbauteil um eine Wand handeln muss. Ausnahmen betreffen Fenster-Familien, die für den Einbau in Fassaden vorgesehen und auch dementsprechend benannt sind.
Fenster werden üblicherweise in Grundrissen in eine Wand versetzt. Vorteil gegenüber der Platzierung in Axonometrien, Perspektiven oder anderen Ansichten ist, dass dadurch sowohl die Positionierung zu anderen Objekten im Grundriss als auch die Auswahl des Basisbauteils bei mehreren, Schicht-an-Schicht liegenden Wänden (wie in der Hybrid-Bauweise üblich) ermöglicht wird. Andererseits wiederum könnte für eine etwaige Fassadengestaltung eine Fenster-Platzierung in Gebäude-Ansichten von Vorteil sein.
Zusammenfassend kann jedenfalls gesagt werden, dass ein Versetzen im Grundriss mit anschließender Verschiebung in einer Ansicht eine durchaus praktikable Herangehensweise für eine Fenster-Modellierung darstellt.
Platzierung von Fenstern bei Verwendung der Hybrid-Modellierweise:
Folgende besondere Herangehensweise sollte bei Verwendung der Hybrid-Modellierweise angewendet werden:
1) Aufgrund des Umstandes, dass bei der Hybrid-Modellierweise mehrere, separate Wände nebeneinander im Grundriss vorhanden sind, sollte zuerst die Wand gewählt werden, in die das Fenster platziert werden soll. Dabei wird der Zeiger über eine Wandachse bewegt und damit eine Voransicht des Fensters angezeigt.
2) Durch Anklicken einer Wand wird das Fenster eingebaut. Die Anschlagseite des Fensters kann dabei nachträglich mit den 'Doppelpfeil-Symbolen' (Steuerelement/doppelt vertikal) geändert werden
,
oder die Basis-Wand mit dem Befehl >Neues Basisbauteil wählen getauscht werden:

3) Abschließend wird die Öffnungs-'Information' (der Rohbau-Ausschnitt) von der Basisbauteil-Wand auf andere Wände (bspw. Dämmungs-Wände od. Wandbeläge) übertragen. Dabei kommt der Befehl >Ändern >Verbinden >Geometrie verbinden zur Anwendung:

Beispiel: Platzierung des Fensters bei mehreren Wänden (Hybrid-Bauweise)
1) Wand auswählen 2) Fenster einbauen 3) Geometrie verbinden

Parametrisierung von Fenster-Familien:
Die Leistungsfähigkeit einer Fensterfamilie (und Familien im Allgemeinen) hängt im Wesentlichen von der Parametrisierung und dem Detail-Level der eingebauten Geometrien ab. Diesbezüglich gibt es bei den verschiedenen Familien-Herstellern teils große Unterschiede, weshalb eine allgemeine Aussage dazu kaum möglich ist. Grundsätzlich gilt in Revit die Regel: Alles ist möglich, aber was zuviel ist, ist zu viel (H.Reichholf). Im Hinblick auf eine möglichst gute Programm-Performance wird jedenfalls empfohlen, Familien mit sehr komplexen Formeln in der Parametrisierung und hoch-detaillierten Geometrien tunlichst nicht zu verwenden!
Nachfolgende kurze Beschreibung beschränkt sich aus oben genannten Gründen auf die Standard-Parametrisierung von Fenster-Familien:
Typ-Parameter:
- Breite / Rohbaubreite: regelt das Rohbaumaß der Fenster-Breite
- Höhe / Rohbauhöhe: regelt das Rohbaumaß der Fenster-Höhe
- Verschiedene Parameter für Rahmen- oder Flügelabmessungen
Exemplar-Parameter:
- Ebene: ist die Einbau-Ebene, auf die das Fenster bezogen wird (meistens: FBOK = Fußbodenoberkante)
- Schwelle/Brüstung: ist die Höhe von der Einbau-Ebene bis zur Unterkante des Fensters (RPH = Rohbau-Parapethöhe)
- Einbautiefe: Position des Fensters in der Wand-Tiefe (bzw. Leibung)
Änderung eines Fenster-Typs:
Im Eigenschaftenfenster kann der Typ ausgewählt werden, der üblicherweise für die Fenster-Größe mittels oben beschriebener Typ-Parameter verantwortlich ist:

Fenster-Größe in Abhängigkeit des gewählten Typs (Beispiel-Darstellung M1:50):

Weitere Hinweise:
- Fenster sollten immer auf einer Ebene platziert werden, um Höhen-Fehler in weiterer Folge zu vermeiden
- Die Zuordnung des Materials erfolgt über Exemplar-Parameter.
- Fenster und Türen müssen immer in dieselbe Wand gesetzt werden, ansonsten entsteht bei verbundenen Elementen eine Kreisreferenz.
- Ausnahmen sind Lichtkuppeln, da sie in Dächern und nicht in Wänden platziert werden. Bei Lichtkuppeln wird der selbe Workflow am Bauteil Dach angewandt.

Informationen zum Erstellen neuer Familien sind im Artikel Familienbau zu finden.
Die grundsätzliche Modellierung eines Fensters in ARCHICAD unterscheidet sich nicht in den verschiedenen Planungsphasen.
Die für diese Phase neu hinzukommenden Merkmale und Parameter sind an den entsprechenden Stellen im Einstellungs-Dialog des Bauelementes zu ergänzen.
Die Beschreibung des Einstellungs-Dialoges und die entsprechende Vorgehensweise finden sich in einer früheren Phasenbeschreibung in diesem Artikel.
Die Beschriftung und Kotierung des Bauelementes sollte immer assoziativ erfolgen. Die Beschreibung zur Vorgehensweise in ARCHICAD findet sich in den entsprechenden Artikeln.
In dieser Phase werden den Fenstern Oberflächenmaterialien zugeordnet, bauphysikalische Eigenschaften ergänzt und die wesentlichsten Bemaßungen/Kotierungen in Grundrissen und Schnitten erstellt.
Darstellung
Hier unterscheiden sich die verschiedenen Länder.
Merkmale
Merkmal
- Bauart Fenster
- Feuerwiderstandsklasse
- Position Sonnenschutz
- Rauchschutz
- Blendrahmen
- Blockrahmen
- Flügelrahmen
Parameter
- Dicke Pfosten
- Dicke Riegel
- Breite Blendrahmen außen
- Dicke Flügelrahmen
- Höhe Blendrahmen außen
Gliederungs-Informationen
Beschriftung
In dieser Phase werden im Grundriss die Fenster-Abmessungen (Rohbaumaß) und im Schnitt die Brüstungsoberkante und ggf. die Sturz-Unterkante beschriftet.
Beschriftungen für Fenster können aus dem Revit-Content bezogen werden. Neue Beschriftungen werden mit der Beschriftungs-Familien-Vorlage >M_Fensterbeschriftung angelegt. Die in dieser Phase zu ergänzenden Bschriftungen können in Revit folgendermaßen umgesetzt werden:
- Fenster-Beschriftungen im Grundriss werden mit dem Befehl >Beschriften >Nach Kategorie beschriften oder mit >Beschriften >Alle Beschriften durchgeführt.
- Fenster-Beschriftungen im Schnitt werden mit dem Befehl >Beschriften >Höhenkote durchgeführt.
Grundriss: Fenster-Abmessung Schnitt: Brüstungsoberkante, Sturzkante
Die grundsätzliche Modellierung eines Fensters in ARCHICAD unterscheidet sich nicht in den verschiedenen Planungsphasen.
Die für diese Phase neu hinzukommenden Merkmale und Parameter sind an den entsprechenden Stellen im Einstellungs-Dialog des Bauelementes zu ergänzen.
Die Beschreibung des Einstellungs-Dialoges und die entsprechende Vorgehensweise finden sich in einer früheren Phasenbeschreibung in diesem Artikel.
Die Beschriftung und Kotierung des Bauelementes sollte immer assoziativ erfolgen. Die Beschreibung zur Vorgehensweise in ARCHICAD findet sich in den entsprechenden Artikeln.
Anleitung
Es werden Oberflächen-Definitionen und bauphysikalische Eigenschaften vom Fachbereich Architektur eingebracht.
Die Eingabe von Materialien erfolgt über die entsprechenden Parameter im Eigenschaftenfenster:
Die Eingabe von bauphysikalischen Eigenschaften erfolgt mittels spezieller Parameter, die über den Befehl >Verwalten >Projektparameter angelegt werden können:

Die grundsätzliche Modellierung eines Fensters in ARCHICAD unterscheidet sich nicht in den verschiedenen Planungsphasen.
Die für diese Phase neu hinzukommenden Merkmale und Parameter sind an den entsprechenden Stellen im Einstellungs-Dialog des Bauelementes zu ergänzen.
Die Beschreibung des Einstellungs-Dialoges und die entsprechende Vorgehensweise finden sich in einer früheren Phasenbeschreibung in diesem Artikel.
Die Beschriftung und Kotierung des Bauelementes sollte immer assoziativ erfolgen. Die Beschreibung zur Vorgehensweise in ARCHICAD findet sich in den entsprechenden Artikeln.
In dieser Phase werden Fenster 'Genehmigungs-tauglich' beschriftet und um weitere Informationen betreffend Bauphysik und Brandschutz ergänzt.
Darstellung
Hier unterscheiden sich die verschiedenen Länder. In Österreich werden Einreichpläne nach Baustoffen farblich dargestellt: Die Darstellung der Wände (Basisbauteile der Fenster) bezieht sich auf die Darstellung gem. Wiener Bauordnung.
Merkmale
- Gesamtenergiedurchlassgrad
- Glasflächenanteil
- Lichttransmissionsgrad
- Schallschutzklasse
- U-Wert
- Wärmedurchgangskoeffizient Uf [W/m2K]
- Wärmedurchgangskoeffizient Uw [W/m2K]
Beschriftung
Die Beschriftung der Fenster umfasst in dieser Phase folgende Maßnahmen (s.bspw. Ö–NORM A_6240-2 Abschn. 9.6):
- Abmessungen des Fensters im Grundriss (AL= Architekturlichte auf Fensterachse)
- Brüstungsoberkante im Grundriss (FPH= fertige Parapethöhe über FBOK= Fußbodenoberkante)
- ggf. Fensterkanten bzw. Oberkanten des unteren Rahmens (Absturzsicherung)
Beschriftungen für Fenster können aus dem Revit-Content bezogen werden. Neue Beschriftungen werden mit der Beschriftungs-Familien-Vorlage >M_Fensterbeschriftung angelegt.Die in dieser Phase zu ergänzenden Bschriftungen können in Revit folgendermaßen umgesetzt werden:
- Architekturlichte-Abmessungen des Fensters im Grundriss (auf der Achse) werden mit dem Befehl >Beschriften >Nach Kategorie beschriften oder mit >Beschriften >Alle Beschriften durchgeführt.
- Brüstungsoberkanten (fertige Parapethöhen):
Bei Verwendung von Bezugshöhen FBOK (= Fußbodenoberkante) zum jeweiligen Geschoß müssen diese im Grundriss und im Schnitt mit Texten angegeben werden (Begründung: leider fehlt in Revit die Möglichkeit, andere Bezugshöhen zu definieren, was ja bspw. bei der Brüstungshöhe der Fall wäre)
Bei Verwendung von Bezugshöhen zum ±0,00 des Gebäudes können diese im Grundriss und im Schnitt mit dem Befehl >Beschriften >Höhenkote erstellt werden. Dabei ist aber darauf zu achten, dass die richtige Höhe auf der Fenster-Brüstung gewählt wird (bei fertigen Parapethöhen sollte die Oberkante des Fensterbretts gewählt werden). Zudem ist die Einstellung >Höhenwerte anzeigen für die Auswahl der richtigen Höhe in der Optionsleiste zu berücksichtigen: Zur Auswahl stehen: Obere Höhe / Untere Höhe / Obere und untere Höhe
Grundriss: AL (= Architekturlichte) SchnittFPH (= fertige Parapethöhe) (Beschriftung ist nicht zwangsläufig erforderlich; ggf. FPH ergänzen)
Die Beschriftung eines Fensters erfolgt über den im Einstellungsdialog vorhandenen Marker.
Anleitung
In dieser Phase werden alle bauphysikalischen Eigenschaften vom Fachbereich Architektur eingebracht, die f Berechnungen in der Genehmigungsplanung benötigt werden.
Die Eingabe von bauphysikalischen Eigenschaften erfolgt mittels spezieller Parameter, die über den Befehl >Verwalten >Projektparameter angelegt werden können:
Über die Einstellung >Disziplin und >Parametertyp erfolgt die Zuordnung der Einheit. In der Disziplin >Energie steht eine Auswahl an bauphysikalischen Größen zur Verfügung:
Der phasengerechte Detaillierungsgrad der Fenster kann mit der Modelldarstellungsoptionen reguliert werden. Wichtige Voraussetzung ist, dass die 2D- und 3D-Darstellungsoptionen in der Elementeinstellungen der Fenster auf „Nach Modelldarstellung“ gestellt wurden. In der Phase Einreichung sollten folgende Einstellungen durchgeführt werden.
Wählen Sie in dem Reiter Detaillierung der Fenstersymbole folgenden Einstellungen aus, um das passende Symbol für die Einreichung zu erhalten


In dem Reiter der verschiedenen Bibliotheksobjekt-Einstellungen sollte man das Zubehör und die Öffnungslinie ausschalten, um die Optik der Fenster weiterhin zu schematisieren.


Die für diese Phase neu hinzukommenden Merkmale und Parameter sind an den entsprechenden Stellen im Einstellungs-Dialog des Bauelementes zu ergänzen.
Die Beschreibung des Einstellungs-Dialoges und die entsprechende Vorgehensweise finden sich in einer früheren Phasenbeschreibung in diesem Artikel.
Die Beschriftung und Kotierung des Bauelementes sollte immer assoziativ erfolgen. Die Beschreibung zur Vorgehensweise in ArchiCAD findet sich in den entsprechenden Artikeln.
In dieser Phase werden sämtliche Informationen ergänzt, die für eine Norm-gerechte Ausführungsplanung und Fach-gerechte Vergabe der Fenster benötigt werden. Dazu zählen grundsätzlich alle Ausführungs- und Ausschreibungs-relevanten inkl. etwaige Hersteller-spezifische Angaben.
Darstellung

Plandarstellung (Grundriss) Plandarstellung (Schnitt) Plandarstellung (Ansicht)

Modelldarstellung
Merkmale
Merkmal
- Antrieb
- Ausführung Wetterschutzprofil
- Fensterbank aussen
- Fensterbank innen
- Luftdurchlässigkeit
- Wetterschutzprofil
- Widerstandsklasse
- Hersteller
Parameter
- Breite Architekturlichte
- Breite Flügelaußenmaß
- Breite Mauerlichte
- Breite Stockaußenmaß
- Breite Stocklichte
- Dicke Stock
- Dicke Flügelrahmen
- Höhe Architekturlichte
- Höhe Flügelaußenmaß
- Höhe Mauerlichte
- Höhe Stockaußenmaß
- Höhe Stocklichte
Gliederungs-Informationen
Beschriftung
Die Beschriftung der Fenster umfasst in dieser Phase folgende Maßnahmen (s.bspw. Ö–NORM A_6240-2 Abschn. 9.6):
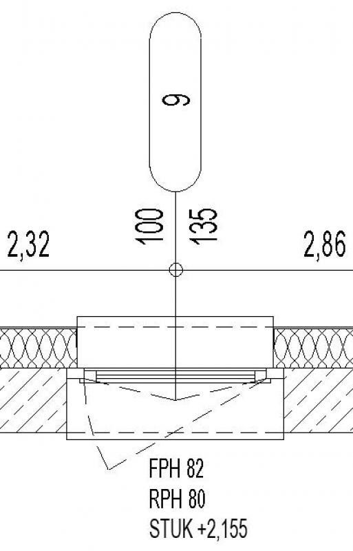
- Abmessungen des Fensters + Fensternummer im Grundriss (RBL= Rohbaulichte auf Fensterachse)
- Brüstungsoberkanten im Grundriss + Schnitt (FPH=fertige Parapethöhe über FBOK= Fußbodenoberkante, RPH=Rohbauparapethöhe über RDOK= Rohdeckenoberkante)
- Fenstersturz-Höhen (STUK= Sturzunterkante über 0,00)
Beschriftungen für Fenster können aus dem Revit-Content bezogen werden. Neue Beschriftungen werden mit der Beschriftungs-Familien-Vorlage >M_Fensterbeschriftung angelegt. Die in dieser Phase zu ergänzenden Beschriftungen können in Revit folgendermaßen umgesetzt werden:
- Abmessungen des Fensters im Grundriss (auf der Achse) werden mit dem Befehl >Beschriften >Nach Kategorie beschriften oder mit >Beschriften >Alle Beschriften durchgeführt.
- Brüstungsoberkanten und Sturz-Unterkanten:
Bei Verwendung von Bezugshöhen FBOK (= Fußbodenoberkante) und RDOK (Rohdeckenoberkante) zum jeweiligen Geschoß müssen diese im Grundriss und im Schnitt mit Texten angegeben werden (Begründung: leider fehlt in Revit die Möglichkeit, andere Bezugshöhen zu definieren, was ja bspw. bei der Rohbauhöhe der Fall wäre)
Bei Verwendung von Bezugshöhen zum ±0,00 des Gebäudes können diese im Grundriss und im Schnitt mit dem Befehl >Beschriften >Höhenkote erstellt werden. Dabei ist aber darauf zu achten, dass die richtige Höhe auf der Fenster-Brüstung gewählt wird (bei fertigen Parapethöhen sollte die Oberkante des Fensterbretts gewählt werden). Zudem ist die Einstellung >Höhenwerte anzeigen für die Auswahl der richtigen Höhe in der Optionsleiste zu berücksichtigen: Zur Auswahl stehen: Obere Höhe / Untere Höhe / Obere und untere Höhe


Grundriss: Achse mit Fensternummer Schnitt
FPH = fertige Parapethöhe
RPH = Rohbau Parapethöhe
STUK = Sturzunterkante
Anleitung
Die Möglichkeiten der Fenster-Darstellung sind natürlich von der Ausarbeitungs-Tiefe in der jeweiligen Familie abhängig. Der Revit-Content bietet hier einen großen Umfang an gut ausgearbeiteten Familien an.
Bei der Auswahl von Familien sollte jedoch folgender Umstand immer berücksichtigt werden:
Besonderer Hinweis zur Auswahl von Fenster-Familien (u. Familien allgemein):
Vielfach wird bei Modellierern der eifrige jedoch an dieser Stelle nicht unbedingt zielführende Versuch unternommen, eine Detaillierung von Fenstern in der Familie vorzunehmen. Infolge dessen kommt es häufig zu einer sehr umfangreichen und aufwändigen Familien-Ausarbeitung.
Im Hinblick auf eine in der BIM-Welt notwendige Abstrahierung von Bauteilen und unter Berücksichtigung der Revit-Programm-Performance wird jedoch anstelle einer Familien-Detaillierung eine Ausarbeitung von Fenstern (und auch anderen Bauteilen) anhand von 2D-Details mit entsprechendem Grundriss-Verweis dringend empfohlen!
Der phasengerechte Detaillierungsgrad der Fenster kann mit der Modelldarstellungsoptionen reguliert werden. Wichtige Voraussetzung ist, dass die 2D- und 3D-Darstellungsoptionen in der Elementeinstellungen der Fenster auf „Nach Modelldarstellung“ gestellt wurden. In der Phase Ausführung sollten folgende Einstellungen durchgeführt werden.


In dem Reiter der verschiedenen Bibliotheksobjekt-Einstellungen sollte man das Zubehör und die Öffnungslinie einblenden.


Die für diese Phase neu hinzukommenden Merkmale und Parameter sind an den entsprechenden Stellen im Einstellungs-Dialog des Bauelementes zu ergänzen.
Die Beschreibung des Einstellungs-Dialoges und die entsprechende Vorgehensweise finden sich in einer früheren Phasenbeschreibung in diesem Artikel.
Die Beschriftung und Kotierung des Bauelementes sollte immer assoziativ erfolgen. Die Beschreibung zur Vorgehensweise in ArchiCAD findet sich in den entsprechenden Artikeln.
Dieser Inhalt steht leider nur unseren Pro-Anwendern zur Verfügung.
Sollten Sie Interesse haben, den gesamten Artikel zu lesen, testen Sie den Pro-Account oder werden Sie Pro-Anwender.
