Türen mit Eck- und Umfassungszargen (auch: Türfutter oder Futterzarge) sind eine sehr verbreitete Form einer Türe. Die Zarge umfasst dabei die Wandöffnung an drei Seiten bzw. wird an einer Seite der Wandöffung als Eckzarge montiert. Eck- und Umfassungszargen können in Holz oder Stahl ausgeführt werden.
Aufgrund der ähnlichen Modellierweise werden hier Eck- und Umfassungszargen als ein Modellierleitfaden geführt.
Suchbegriffe: EZ, EZ_D1, EZ_D2, UZ, UZ_D1, UZ_D2, Umfassung, Umfassungszarge, Eckzarge
Die Informationen zum Umgang mit Türen in den frühen Planungsphasen sind im Artikel Tür: Allgemein beschrieben.
In dieser Phase wird die Oberflächen und bauphysikalischen Eigenschaften des Bauteils ergänzt.
- Detaillierungsgrad:
- Wand: mittel
- Tür: grob
- Maßstab: 1:100
Darstellung
Plandarstellung Modelldarstellung
Merkmale
Merkmal
- Ausbildung Türblatt
- Schallschutzklasse
- U-Wert
Parameter
Gliederungs-Informationen
- Breite Türblatt außen
- Türblatt Glasfläche
- Türblatt Glasfläche Umfang
Beschriftung
In dieser Phase wird die Höhe und Breite der zu modellierenden Türe beschriftet.
In Österreich erfolgt die Beschriftung der lichte Durchgangsbreite und -Höhe. Plandarstellung: 
In Deutschland wird die Rohbaubreite und -Höhe beschriftet. Plandarstellung:

Anleitung
Abhängig vom verwendeten Content sind diese geforderten Merkmale differenzierbar, dies gilt auch für die Modelliermethodik (Mehrschichtig oder Hybrid). Dementsprechend ist für eine Türe eine Öffnungs-funktionalität vorzusehen. Dies trifft nicht bei einer einschichtigen Modelliermethodik zu.
Die grundsätzliche Modellierung einer Tür in ARCHICAD unterscheidet sich nicht in den verschiedenen Planungsphasen, oder durch verschieden Tür-Arten.
Die Anleitung zur Erstellung einer Tür findet sich im Artikel Tür: Allgemein.
Darstellung

Plandarstellung Modelldarstellung

Plandarstellung Modelldarstellung

Plandarstellung Modelldarstellung
Merkmale
Merkmal
- Ausbildung Türblatt
- Schallschutzklasse
- U-Wert
Parameter
- Breite Türblatt außen
- Türblatt Glasfläche
- Türblatt Glasfläche Umfang
Gliederungs-Informationen
Beschriftung
In dieser Phase sind die Höhe und Breite der Tür bereits beschriftet.
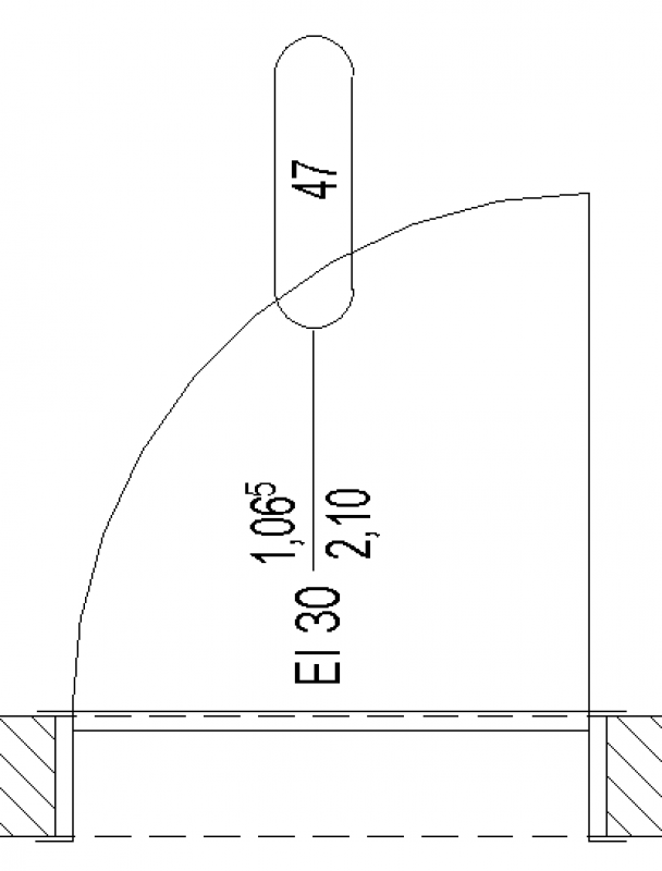
Die lichte Durchgangsbreite und Höhe, die Feuerwiderstandsklasse und die Türnummer werden beschriftet. siehe Plandarstellung:

Die Rohbaubreite und Höhe, die Feuerwiderstandsklasse und die Türnummer werden beschriftet. siehe Plandarstellung:

Die lichte Durchgangsbreite und Höhe, die Feuerwiderstandsklasse und die Türnummer werden beschriftet. siehe Plandarstellung:

Anleitung
Merkmale:
In dieser Phase werden an der Türe die bauhysikalischen Eigenschaften ergänzt. Diese werden abhängig von dem verwendeten Content auf Typen- oder Exemplarebene definiert.
Die grundsätzliche Modellierung einer Tür in ARCHICAD unterscheidet sich nicht in den verschiedenen Planungsphasen, oder durch verschieden Tür-Arten.
Die Anleitung zur Erstellung einer Tür findet sich im Artikel Tür: Allgemein.
In dieser Phase werden die Ausführungsdetails erstellt. Falls erforderlich, werden die Türen entsprechend angepasst.
Darstellung
(Maßstab: 1:50)

Plandarstellung Modelldarstellung
Merkmale
Merkmal
- Ausführung Schloss
- Ausführung Türschließer
- Hersteller
Parameter
- Breite Blendrahmen außen
- Höhe Blendrahmen außen
- Höhe Türblatt außen
Gliederungs-Informationen
Beschriftung
Die lichte Durchgangsbreite und Höhe, Feuerwiderstandsklasse und Türnummer werden beschriftet.
Plandarstellung:

Die Rohbaubreite und Höhe, Feuerwiderstandsklasse, Türnummer und die Schallschutzklasse werden beschriftet.
Plandarstellung:

Die lichte Durchgangsbreite und Höhe, Feuerwiderstandsklasse und Türnummer werden beschriftet.
Plandarstellung:

Anleitung
Die grundsätzliche Modellierung einer Tür in ARCHICAD unterscheidet sich nicht in den verschiedenen Planungsphasen, oder durch verschieden Tür-Arten.
Die Anleitung zur Erstellung einer Tür findet sich im Artikel Tür: Allgemein.
Dieser Inhalt steht leider nur unseren Pro-Anwendern zur Verfügung.
Sollten Sie Interesse haben, den gesamten Artikel zu lesen, testen Sie den Pro-Account oder werden Sie Pro-Anwender.
