Fassadentüren sind speziell für den Einbau in Pfosten-Riegelkonstruktion vorgesehen. Sie unterscheiden sich hinsichtlich ihres Aufbaus meist von herkömmlichen Türen, weshalb ihnen in einigen Authoring-Tools eine Sonderrolle zukommt.
Suchbegriffe: Fass_Tür, Fass_Tuer, Tür_Fass, Tuer_Fass, Fass Tür, Fassadentuer
in den Früheren Phasen wird zwischen Fassadenpaneel und der Verwendung als Fassadentüre noch nicht unterschieden.
Darstellung
Plandarstellung Modelldarstellung
Merkmale
Merkmal
- Ausbildung Türblatt
- Schallschutzklasse
- U-Wert
Parameter
Gliederungs-Informationen
- Breite Türblatt außen
- Türblatt Glasfläche
- Türblatt Glasfläche Umfang
Beschriftung
In dieser Phase wird die Höhe und Breite der Tür beschriftet.
Hier wird die lichte Durchgangsbreite und Höhe beschriftet. Plandarstellung:

Hier wird die Rohbaubreite und Höhe beschriftet. Plandarstellung:

Anleitung
Der Austausch einer Fassadentür wird wie folgt durchgeführt:
1. Scheibe markieren
2. Pinnadel entsperren (unpin)

Die Parameter 'Abmessungen' werden durch die Fassadenraster definieren

Die grundsätzliche Modellierung einer Öffnung in Form von Türen in ARCHICAD unterscheidet sich nicht in den verschiedenen Planungsphasen - oder durch den Typ einer Tür. Im Falle einer Fassadentür wird jedoch das Fenster-Werkzeug verwendet als Fenster-Tür.
Eine Fenster-Tür wird immer in eine bereits modellierte Wand eingesetzt. Dabei ist auf die Positionierung im Ursprungsgeschoss zu achten, v.a. auf die Fußbodenaufbauhöhe. Die Beschriftung einer Fenster-Tür erfolgt über den im Einstellungsdialog vorhandenen Marker.
Die ausführliche Anleitung zu Fenstern findet sich in den Tutorials: unter ARCHICAD-Spezifika > Bauelemente > Öffnungen - Fenster.
Darstellung
Plandarstellung Modelldarstellung
Merkmale
Merkmal
- Ausbildung Türblatt
- Schallschutzklasse
- U-Wert
Parameter
- Breite Türblatt außen
- Türblatt Glasfläche
- Türblatt Glasfläche Umfang
Gliederungs-Informationen
Beschriftung
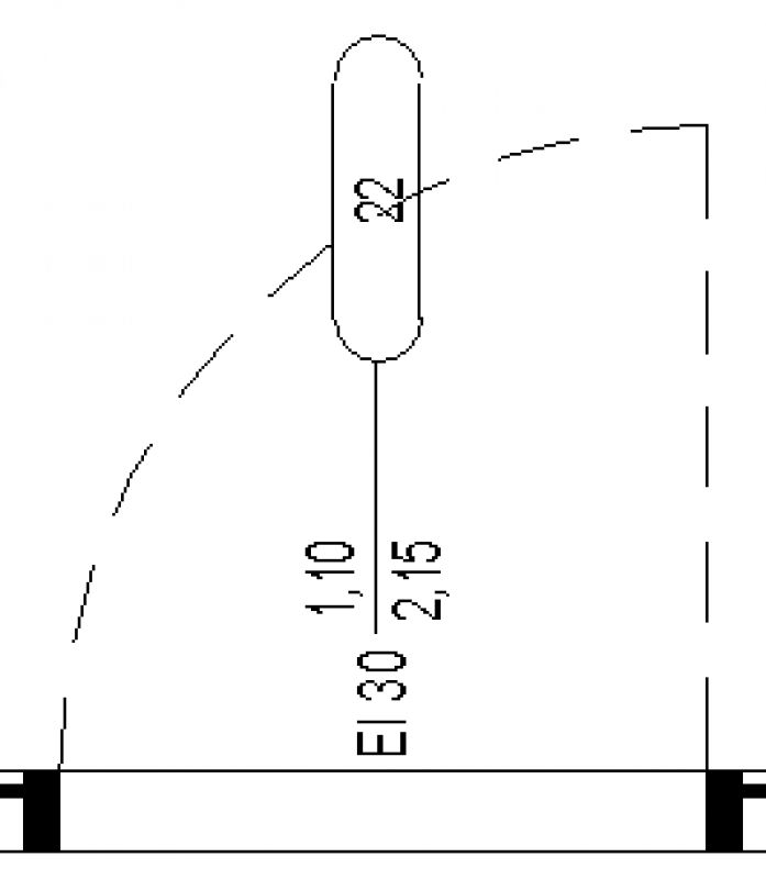
Hier wird die lichte Durchgangsbreite und Höhe, die Feuerwiderstandsklasse und die Türnummer beschriftet. Plandarstellung:

Hier wird die Rohbaubreite und Höhe, die Feuerwiderstandsklasse und die Türnummer beschriftet. Plandarstellung:

Anleitung
Merkmale:
In dieser Phase sind an der Türe die bauhysikalischen Eigenschaften zu ergänzen. Diese werden abhängig von dem verwendteten Content auf der Typen- oder Exemplarebene definiert.
Die grundsätzliche Modellierung einer Öffnung in Form von Türen in ARCHICAD unterscheidet sich nicht in den verschiedenen Planungsphasen - oder durch den Typ einer Tür. Im Falle einer Fassadentür wird jedoch das Fenster-Werkzeug verwendet als Fenster-Tür.
Eine Fenster-Tür wird immer in eine bereits modellierte Wand eingesetzt. Dabei ist auf die Positionierung im Ursprungsgeschoss zu achten, v.a. auf die Fußbodenaufbauhöhe. Die Beschriftung einer Fenster-Tür erfolgt über den im Einstellungsdialog vorhandenen Marker.
Die ausführliche Anleitung zu Fenstern findet sich in den Tutorials: unter ARCHICAD-Spezifika > Bauelemente > Öffnungen - Fenster.
Darstellung
Plandarstellung Modelldarstellung
Merkmale
Merkmal
- Ausführung Schloss
- Ausführung Türschließer
- Hersteller
Parameter
- Breite Blendrahmen außen
- Höhe Blendrahmen außen
- Höhe Türblatt außen
Gliederungs-Informationen
Beschriftung
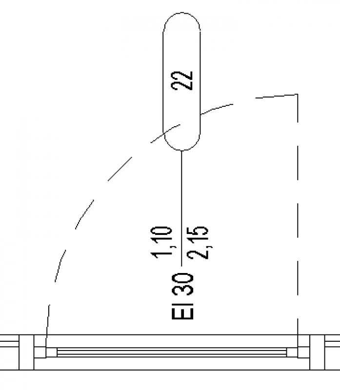
Hier wird die lichte Durchgangsbreite und Höhe, die Feuerwiderstandsklasse und die Türnummer beschriftet. Plandarstellung:

Hier wird die Rohbaubreite/Höhe , Feuerwiderstandsklasse, Türnummer und die Schallschutzklasse beschriftet.
Plandarstellung:

Anleitung
Die grundsätzliche Modellierung einer Öffnung in Form von Türen in ARCHICAD unterscheidet sich nicht in den verschiedenen Planungsphasen - oder durch den Typ einer Tür. Im Falle einer Fassadentür wird jedoch das Fenster-Werkzeug verwendet als Fenster-Tür.
Eine Fenster-Tür wird immer in eine bereits modellierte Wand eingesetzt. Dabei ist auf die Positionierung im Ursprungsgeschoss zu achten, v.a. auf die Fußbodenaufbauhöhe. Die Beschriftung einer Fenster-Tür erfolgt über den im Einstellungsdialog vorhandenen Marker.
Die ausführliche Anleitung zu Fenstern findet sich in den Tutorials: unter ARCHICAD-Spezifika > Bauelemente > Öffnungen - Fenster.
Dieser Inhalt steht leider nur unseren Pro-Anwendern zur Verfügung.
Sollten Sie Interesse haben, den gesamten Artikel zu lesen, testen Sie den Pro-Account oder werden Sie Pro-Anwender.
