Rohrrahmentüren sind eine Sonderform der Türen, welche einen konstruktiven Stahl- beziehungsweise Aluminiumrahmen besitzen. In Bürofluren trifft man häufig auf diese Türen. Das Türblatt ist meist verglast. Seitlich befindet sich häufig, auf einer oder auch beiden Seiten, ein feststehend verglastes Seitenteil.
Suchbegriffe: RRT, RRT_D1, RRT_D2, Rohrrahmen, Rohr
Die Informationen zum Umgang mit Türen in den frühen Planungsphasen sind im Artikel Tür: Allgemein beschrieben.
In dieser Phase werden Oberflächen definiert. Auch werden bauphysikalischen Eigenschaften am Bauteil ergänzt.
Merkmale
Merkmal
- Ausbildung Türblatt
- Schallschutzklasse
- U-Wert
Parameter
Gliederungs-Informationen
- Breite Türblatt außen
- Türblatt Glasfläche
- Türblatt Glasfläche Umfang
Beschriftung
In dieser Phase wird die Höhe und Breite der Tür beschriftet.
Hier wird die Rohbaubreite und Höhe beschriftet. Plandarstellung:
Hier wird die lichte Durchgangsbreite und Höhe beschriftet. Plandarstellung:
Hier wird die lichte Durchgangsbreite und Höhe beschriftet. Plandarstellung:
Anleitung
Die grundsätzliche Modellierung einer Tür in ARCHICAD unterscheidet sich nicht in den verschiedenen Planungsphasen, oder durch verschieden Tür-Arten.
Die Anleitung zur Erstellung einer Tür findet sich im Artikel Tür: Allgemein.
In dieser Phase der Planung wird das Bauteil um weitere Informationen der Bauphysik ergänzt.
Hierzu zählen auch die Informationen in Bezug auf den Brandschutz.
Merkmale
Merkmal
- Ausbildung Türblatt
- Schallschutzklasse
- U-Wert
Parameter
- Breite Türblatt außen
- Türblatt Glasfläche
- Türblatt Glasfläche Umfang
Gliederungs-Informationen
Beschriftung
Die Höhe und die Breite der Türen sind bereits beschriftet.
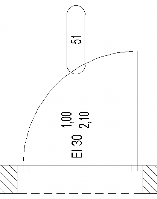
Hier wird die Rohbaubreite und Höhe, die Feuerwiderstandsklasse und die Türnummer beschriftet. Plandarstellung:
Hier wird die lichte Durchgangsbreite und Höhe, die Feuerwiderstandsklasse und die Türnummer beschriftet. Plandarstellung:
Hier wird die lichte Durchgangsbreite und Höhe, die Feuerwiderstandsklasse und die Türnummer beschriftet. Plandarstellung:
Anleitung
Die grundsätzliche Modellierung einer Tür in ARCHICAD unterscheidet sich nicht in den verschiedenen Planungsphasen, oder durch verschieden Tür-Arten.
Die Anleitung zur Erstellung einer Tür findet sich im Artikel Tür: Allgemein.
Merkmale:
In dieser Phase sind an der Türe die bauhysikalischen Eigenschaften zu ergänzen. Diese werden abhängig von dem verwendteten Content auf der Typen- oder Exemplarebene definiert.
In dieser Phase werden die Ausführungsdetails erstellt. Falls erforderlich, werden die Türen entsprechend angepasst.
Merkmale
Merkmal
- Ausführung Schloss
- Ausführung Türschließer
- Hersteller
Parameter
- Breite Blendrahmen außen
- Höhe Blendrahmen außen
- Höhe Türblatt außen
Gliederungs-Informationen
Beschriftung
Hier wird die Rohbaubreite und Höhe, die Feuerwiderstandsklasse, die Türnummer und die Schallschutzklasse beschriftet.
Plandarstellung:
Hier wird die lichte Durchgangsbreite und Höhe, die Feuerwiderstandsklasse und die Türnummer beschriftet.
Plandarstellung:
Hier wird die lichte Durchgangsbreite und Höhe, die Feuerwiderstandsklasse und die Türnummer beschriftet.
Plandarstellung:
Anleitung
Die grundsätzliche Modellierung einer Tür in ARCHICAD unterscheidet sich nicht in den verschiedenen Planungsphasen, oder durch verschieden Tür-Arten.
Die Anleitung zur Erstellung einer Tür findet sich im Artikel Tür: Allgemein.
Dieser Inhalt steht derzeit nur freigeschalteten Anwendern zur Verfügung.
