in den Früheren Phasen wird zwischen Fassadenpaneel und der Verwendung als Fassadentüre noch nicht unterschieden.
Merkmale
Merkmal
- Ausbildung Türblatt
- Schallschutzklasse
- U-Wert
Parameter
Gliederungs-Informationen
- Breite Türblatt außen
- Türblatt Glasfläche
- Türblatt Glasfläche Umfang
Beschriftung
In dieser Phase wird die Höhe und Breite der Tür beschriftet.
Hier wird die Rohbaubreite und Höhe beschriftet. Plandarstellung:
Hier wird die lichte Durchgangsbreite und Höhe beschriftet. Plandarstellung:
Anleitung
Die grundsätzliche Modellierung einer Öffnung in Form von Türen in ARCHICAD unterscheidet sich nicht in den verschiedenen Planungsphasen - oder durch den Typ einer Tür. Im Falle einer Fassadentür wird jedoch das Fenster-Werkzeug verwendet als Fenster-Tür.
Eine Fenster-Tür wird immer in eine bereits modellierte Wand eingesetzt. Dabei ist auf die Positionierung im Ursprungsgeschoss zu achten, v.a. auf die Fußbodenaufbauhöhe. Die Beschriftung einer Fenster-Tür erfolgt über den im Einstellungsdialog vorhandenen Marker.
Die ausführliche Anleitung zu Fenstern findet sich in den Tutorials: unter ARCHICAD-Spezifika > Bauelemente > Öffnungen - Fenster.
Der Austausch einer Fassadentür wird wie folgt durchgeführt:
1. Scheibe markieren
2. Pinnadel entsperren (unpin)
Die Parameter 'Abmessungen' werden durch die Fassadenraster definieren
Merkmale
Merkmal
- Ausbildung Türblatt
- Schallschutzklasse
- U-Wert
Parameter
- Breite Türblatt außen
- Türblatt Glasfläche
- Türblatt Glasfläche Umfang
Gliederungs-Informationen
Beschriftung
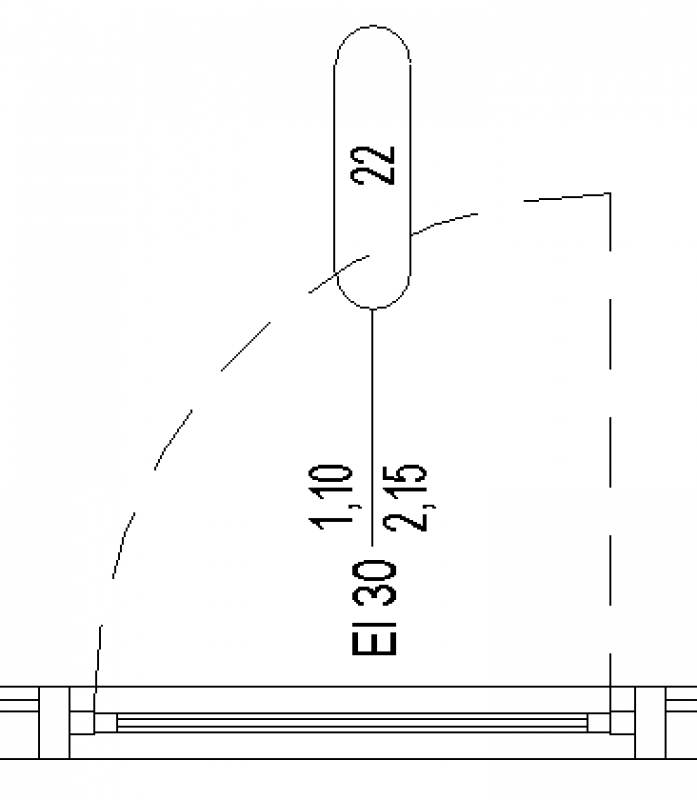
Hier wird die Rohbaubreite und Höhe, die Feuerwiderstandsklasse und die Türnummer beschriftet. Plandarstellung:
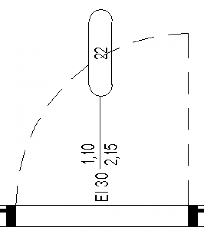
Hier wird die lichte Durchgangsbreite und Höhe, die Feuerwiderstandsklasse und die Türnummer beschriftet. Plandarstellung:
Anleitung
Die grundsätzliche Modellierung einer Öffnung in Form von Türen in ARCHICAD unterscheidet sich nicht in den verschiedenen Planungsphasen - oder durch den Typ einer Tür. Im Falle einer Fassadentür wird jedoch das Fenster-Werkzeug verwendet als Fenster-Tür.
Eine Fenster-Tür wird immer in eine bereits modellierte Wand eingesetzt. Dabei ist auf die Positionierung im Ursprungsgeschoss zu achten, v.a. auf die Fußbodenaufbauhöhe. Die Beschriftung einer Fenster-Tür erfolgt über den im Einstellungsdialog vorhandenen Marker.
Die ausführliche Anleitung zu Fenstern findet sich in den Tutorials: unter ARCHICAD-Spezifika > Bauelemente > Öffnungen - Fenster.
Merkmale:
In dieser Phase sind an der Türe die bauhysikalischen Eigenschaften zu ergänzen. Diese werden abhängig von dem verwendteten Content auf der Typen- oder Exemplarebene definiert.
Merkmale
Merkmal
- Ausführung Schloss
- Ausführung Türschließer
- Hersteller
Parameter
- Breite Blendrahmen außen
- Höhe Blendrahmen außen
- Höhe Türblatt außen
Gliederungs-Informationen
Beschriftung
Hier wird die Rohbaubreite/Höhe , Feuerwiderstandsklasse, Türnummer und die Schallschutzklasse beschriftet.
Plandarstellung:
Hier wird die lichte Durchgangsbreite und Höhe, die Feuerwiderstandsklasse und die Türnummer beschriftet. Plandarstellung:
Anleitung
Die grundsätzliche Modellierung einer Öffnung in Form von Türen in ARCHICAD unterscheidet sich nicht in den verschiedenen Planungsphasen - oder durch den Typ einer Tür. Im Falle einer Fassadentür wird jedoch das Fenster-Werkzeug verwendet als Fenster-Tür.
Eine Fenster-Tür wird immer in eine bereits modellierte Wand eingesetzt. Dabei ist auf die Positionierung im Ursprungsgeschoss zu achten, v.a. auf die Fußbodenaufbauhöhe. Die Beschriftung einer Fenster-Tür erfolgt über den im Einstellungsdialog vorhandenen Marker.
Die ausführliche Anleitung zu Fenstern findet sich in den Tutorials: unter ARCHICAD-Spezifika > Bauelemente > Öffnungen - Fenster.
Dieser Inhalt steht derzeit nur freigeschalteten Anwendern zur Verfügung.
