"Die Blockzarge (auch Blockrahmen oder Stockzarge) besteht aus einem massiven Leibungsteil (Futterbrett oder tiefer Rahmen), das ohne Zier- und Falzbekleidungen zur Verkleidung der Wandteile eingebaut wird. Die Blockzarge ist so breit, wie die Wand dick ist. Meist besteht die Blockzarge aus Holz, Stahlblech oder Aluminium. In die unterschiedlichen Blockrahmenausführungen können verschiedene Türblattarten eingehängt werden."
Quelle: BAUWIKI
Suchbegriffe: Block, BZ_D1, BZ_D2, Holztür, Leibung
Die Informationen zum Umgang mit Türen in den frühen Planungsphasen sind im Artikel Tür: Allgemein beschrieben.
In dieser Phase werden die Oberflächen einer Blockzarge definiert und bauphysikalischen Eigenschaften am Bauteil ergänzt.
Merkmale
Merkmal
- Ausbildung Türblatt
- Schallschutzklasse
- U-Wert
Parameter
Gliederungs-Informationen
- Breite Türblatt außen
- Türblatt Glasfläche
- Türblatt Glasfläche Umfang
Beschriftung
In dieser Phase werden die Höhe und Breite der Tür beschriftet.
Die Rohbaubreite und Höhe werden beschriftet. Plandarstellung:
Die lichte Durchgangsbreite und Höhe werden beschriftet. Plandarstellung:
Die lichte Durchgangsbreite und Höhe werden beschriftet. Plandarstellung:
Anleitung
Die grundsätzliche Modellierung einer Tür in ARCHICAD unterscheidet sich nicht in den verschiedenen Planungsphasen, oder durch verschieden Tür-Arten.
Die Anleitung zur Erstellung einer Tür findet sich im Artikel Tür: Allgemein.
Abhängig vom verwendeten Content sind diese geforderten Merkmale differenzierbar, dieser gibt auch die Modelliermethodik vor (Mehrschichtig oder Hybrid). Dementsprechend ist für die Türe eine Öffnungs-funktionalität vorzusehen, dies trifft allerdings nicht bei einer einschichtigen Modelliermethodik zu.
In dieser Phase der Planung wird das Bauteil um weitere bauphysikalische Informationen ergänzt.
Hierzu zählen auch die Informationen in Bezug auf den Brandschutz.
Merkmale
Merkmal
- Ausbildung Türblatt
- Schallschutzklasse
- U-Wert
Parameter
- Breite Türblatt außen
- Türblatt Glasfläche
- Türblatt Glasfläche Umfang
Gliederungs-Informationen
Beschriftung
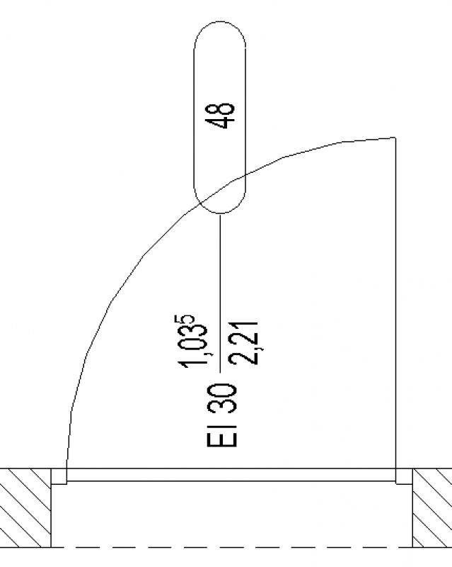
Die Rohbaubreite und Höhe, die Feuerwiderstandsklasse und die Türnummer werden beschriftet. Plandarstellung:
Die lichte Durchgangsbreite und Höhe, die Feuerwiderstandsklasse und die Türnummer werden beschriftet. Plandarstellung:
Die lichte Durchgangsbreite und Höhe, die Feuerwiderstandsklasse und die Türnummer werden beschriftet. Plandarstellung:
Anleitung
Die grundsätzliche Modellierung einer Tür in ARCHICAD unterscheidet sich nicht in den verschiedenen Planungsphasen, oder durch verschieden Tür-Arten.
Die Anleitung zur Erstellung einer Tür findet sich im Artikel Tür: Allgemein.
Merkmale:
In dieser Phase sind an der Türe die bauhysikalischen Eigenschaften zu ergänzen. Diese werden abhängig von dem verwendteten Content auf der Typen- oder Exemplarebene definiert.
In dieser Phase werden die Ausführungsdetails erstellt, falls erforderlich, werden die Türen entsprechend angepasst.
Merkmale
Merkmal
- Ausführung Schloss
- Ausführung Türschließer
- Hersteller
Parameter
- Breite Blendrahmen außen
- Höhe Blendrahmen außen
- Höhe Türblatt außen
Gliederungs-Informationen
Beschriftung
Die Rohbaubreite und Höhe, die Feuerwiderstandsklasse, die Türnummer und die Schallschutzklasse werden beschriftet.
Plandarstellung:
Die lichte Durchgangsbreite und Höhe, die Feuerwiderstandsklasse und die Türnummer werde beschriftet.
Plandarstellung:
Die lichte Durchgangsbreite und Höhe, die Feuerwiderstandsklasse und die Türnummer werden beschriftet.
Plandarstellung:
Anleitung
Die grundsätzliche Modellierung einer Tür in ARCHICAD unterscheidet sich nicht in den verschiedenen Planungsphasen, oder durch verschieden Tür-Arten.
Die Anleitung zur Erstellung einer Tür findet sich im Artikel Tür: Allgemein.
Dieser Inhalt steht derzeit nur freigeschalteten Anwendern zur Verfügung.
